غول تاشوی سامسونگ، بازار جهانی موبایل را شوکه کرد
پتنتهای جدید منتشر شده از گوشی سهتکه سامسونگ که با نام گلکسی زد TriFold شناخته میشود نشان میدهند این گوشی ظاهراً قرار است به سه باتری مجزا نیز مجهز شود. این پتنت ها توسط وب سایت کره ای KIPRIS منتشر شده اند و در آنها می توان دید که سامسونگ قصد دارد سه باتری مجزا
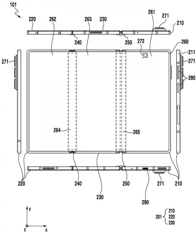
پتنتهای جدید منتشر شده از گوشی سهتکه سامسونگ که با نام گلکسی زد TriFold شناخته میشود نشان میدهند این گوشی ظاهراً قرار است به سه باتری مجزا نیز مجهز شود.
این پتنت ها توسط وب سایت کره ای KIPRIS منتشر شده اند و در آنها می توان دید که سامسونگ قصد دارد سه باتری مجزا را درون گوشی سه تکه خود قرار دهد. ازآنجایی که این گوشی از نوع سه تاشو است، شامل سه بخش می شود که در هر بخش نیز یک باتری را درون خود جای داده است.
گوشی سه تکه سامسونگ ظرفیت باتری بالایی خواهد داشت
طرحی که در سند پتنت ضمیمه شده نشان می دهد که کوچک ترین باتری (T۱) در بخشی قرار گرفته که دوربین های سه گانه پشتی در آن تعبیه شده اند، درحالی که دومین باتری بزرگ تر (T۳) در بخشی قرار دارد که نمایشگر بیرونی را در خود جای داده است. در نهایت، بزرگ ترین باتری (T۲) در بخشی میانی قرار گرفته که هنگام تا شدن دستگاه، میان دو بخش دیگر قرار می گیرد.

باتری گوشی سه تکه سامسونگ
در این سند اطلاعاتی درباره ظرفیت دقیق هر باتری یا ظرفیت کل و همچنین سرعت شارژ آورده نشده است، اما انتظار می رود که این گوشی از لحاظ شارژدهی عملکرد بهتری از گلکسی زد فولد ۷ داشته باشد. زد فولد ۷ با باتری ۴۴۰۰ میلی آمپرساعتی و پشتیبانی از شارژ سیمی ۲۵ واتی عرضه شده بود که در مقایسه با رقبا چندان چشمگیر به نظر نمی رسد.
برخی گزارش های پیشین حکایت از آن داشتند که گلکسی زد TriFold به صورت انحصاری در کره جنوبی و چین عرضه خواهد شد، اما گزارش های بعدی نشان می داد این دستگاه ممکن است در ایالات متحده نیز عرضه شود. طبق شایعات جدیدتر، احتمالاً رونمایی از این گوشی در اواخر ماه جاری میلادی انجام خواهد شد.

گوشی سه تکه سامسونگ
همچنین انتظار می رود که اولین هدست XR مبتنی بر اندروید سامسونگ با نام رمزی Project Moohan نیز در همین ماه معرفی شود. برخی منابع امروز تصاویر و مشخصات کامل این هدست را منتشر کردند که نشان می داد سامسونگ در طراحی آن از ویژن پرو اپل الهامات زیادی گرفته است.

تیترکوتاه مدیا
سرمایهگذاری برای تولید؛ کدام سرمایه، کدام تولید؟
مسئولیت این خبر با سایت منبع و جالبتر در قبال آن مسئولیتی ندارد. خواهشمندیم در صورت وجود هرگونه مشکل در محتوای آن، در نظرات همین خبر گزارش دهید تا اصلاح گردد.
برچسب ها :
ناموجود- نظرات ارسال شده توسط شما، پس از تایید توسط مدیران سایت منتشر خواهد شد.
- نظراتی که حاوی تهمت یا افترا باشد منتشر نخواهد شد.
- نظراتی که به غیر از زبان فارسی یا غیر مرتبط با خبر باشد منتشر نخواهد شد.

ارسال نظر شما
مجموع نظرات : 0 در انتظار بررسی : 0 انتشار یافته : 0